- Bộ cờ lê
- Bộ đầu vít
- Bộ đồ nghề tiêu chuẩn
- Bộ đục số, đục chữ
- Bộ lục giác
- Bộ nhân lực
- Bộ tuýp socket khẩu
- Búa làm đồng xe hơi
- Búa tạ – Búa kỹ thuật
- Bút vạch dấu
- Cần tự động, lắc tay
- Cảo cơ khí
- Cờ lê đóng
- Cờ lê đuôi chuột
- Cờ lê lực
- Cờ lê móc
- Cờ lê thông dụng
- Cờ lê tự động
- Cưa cầm tay
- Dao cạo bạc đạn, vòng bi
- Dao cắt ống
- Dao kỹ thuật
- Dụng cụ cách điện
- Dụng cụ cho ô tô
- Dụng cụ chống cháy nổ
- Dụng cụ khí nén
- Đầu mũi vít
- Đầu tuýp đen
- Đầu tuýp, socket, đầu khẩu
- Đèn pin
- Đục bằng, vuông, nhọn
- Đục gioăng đục lỗ
- Ê tô kẹp
- Giũa kỹ thuật
- Kéo cắt tôn, thép tấm
- Kìm bấm cos
- Kìm các loại
- Kìm cắt cáp
- Kìm cắt chân linh kiện
- Kìm cộng lực
- Kìm mở phe
- Mỏ lết
- Nhíp gắp linh kiện
- Ta rô bàn ren
- Thanh chữ T đầu nối dài
- Tủ dụng cụ đồ nghề
- Tua vít các loại
- Xà beng các loại
- Cưa cành cây
- Kéo tỉa cành
- Máy cắt cành
Panme điện tử VOGEL Germany 232813, thang đo từ 0-25mm
Mã: 232813Thiết bị có độ chính xác 0.001mm, bề mặt carbide mài mịn, màn hình LCD lớn, vạch chia khắc laser, cơ cấu ratchet, tự động tắt, pin LR44, hệ thống đo lường tuyệt đối ABS.
Giá từ: 9.600.000₫
VAT 8%
(Giá chỉ mang tính tham khảo & chưa bao gồm thuế VAT)
Cho phép đặt hàng trước
Panme điện tử Vogel Germany 232813 là thiết bị đo lường chính xác. Được thiết kế đặc biệt để đo độ dày thành ống với thang đo từ 0-25mm. Thiết bị đo này sử dụng hệ thống đo lường tuyệt đối (ABS-system), đảm bảo độ chính xác cao và tiện lợi trong quá trình đo lường.

Panme có độ chính xác 0.001mm và sai số tối đa 0.003mm. Đường kính chuôi đo là 18mm và chiều dài đo là 25mm. Thiết bị được trang bị màn hình LCD lớn, với chiều cao chữ số 7mm, dễ dàng chuyển đổi đơn vị đo lường giữa mm và inch.
Panme điện tử VOGEL Germany 232813
đo độ dày thành ống từ 0-25mm
Khung panme được sơn và có tấm cách nhiệt, bề mặt đo làm từ carbide và được mài mịn, giúp tăng độ bền và độ chính xác của thiết bị.
Vạch chia trên panme được khắc bằng laser, đảm bảo dễ dàng đọc và duy trì độ chính xác lâu dài. Đầu đo được làm từ vật liệu carbide cứng, chịu mài mòn tốt.
- Thang đo: 0-25mm
- Độ chính xác: 0.001mm
- Sai số tối đa: 0.003mm
- Đường kính chuôi đo: 18mm
- Chiều dài đo: 25mm
- Bề mặt đo: Carbide, mài mịn
- Màn hình: LCD, chiều cao chữ số 7mm
- Vạch chia: Khắc laser
- Tính năng khác: Tự động tắt, cơ cấu ratchet
- Nguồn điện: 1 pin LR44 1.5V

Thiết bị còn có tính năng thiết lập lại giá trị đo tại bất kỳ vị trí nào và nút On/Off để tiết kiệm pin. Panme có cơ cấu ratchet giúp duy trì áp lực đo ổn định và có bước điều chỉnh bằng ăn khớp bánh răng, giúp người dùng dừng hoặc điều chỉnh chuôi đo chính xác. Cần khóa giúp cố định nhanh và chính xác trong quá trình đo lường.
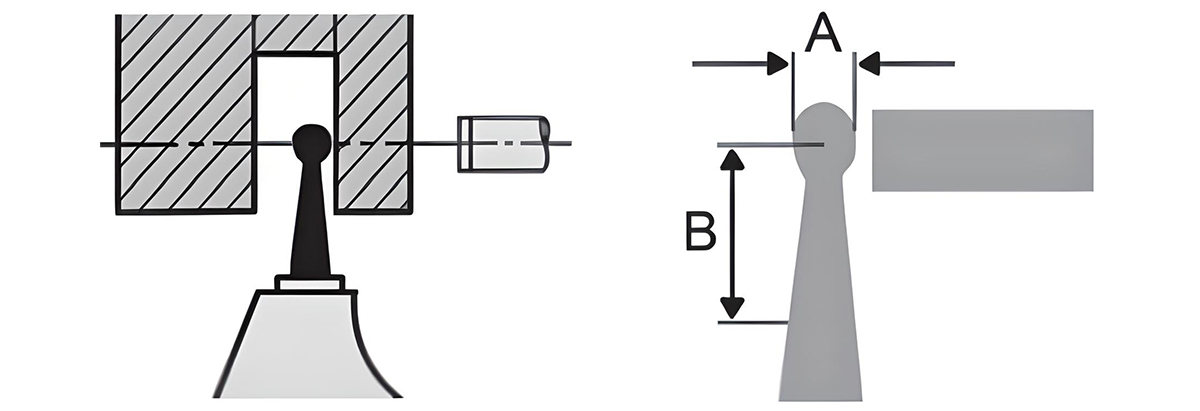
| Mã sản phẩm | Thang đo (mm) | Độ chính xác | Đường kính chuôi đo | A ø mm | B mm | Dung sai toàn tầm |
|---|---|---|---|---|---|---|
| 232813 | 0 – 25 | 0.001 | 18 | 4.7 | 25 | 0.003 |
Bộ sản phẩm bao gồm 1 pin LR44 1.5V, đảm bảo thiết bị luôn sẵn sàng sử dụng, cùng với hướng dẫn sử dụng chi tiết.









